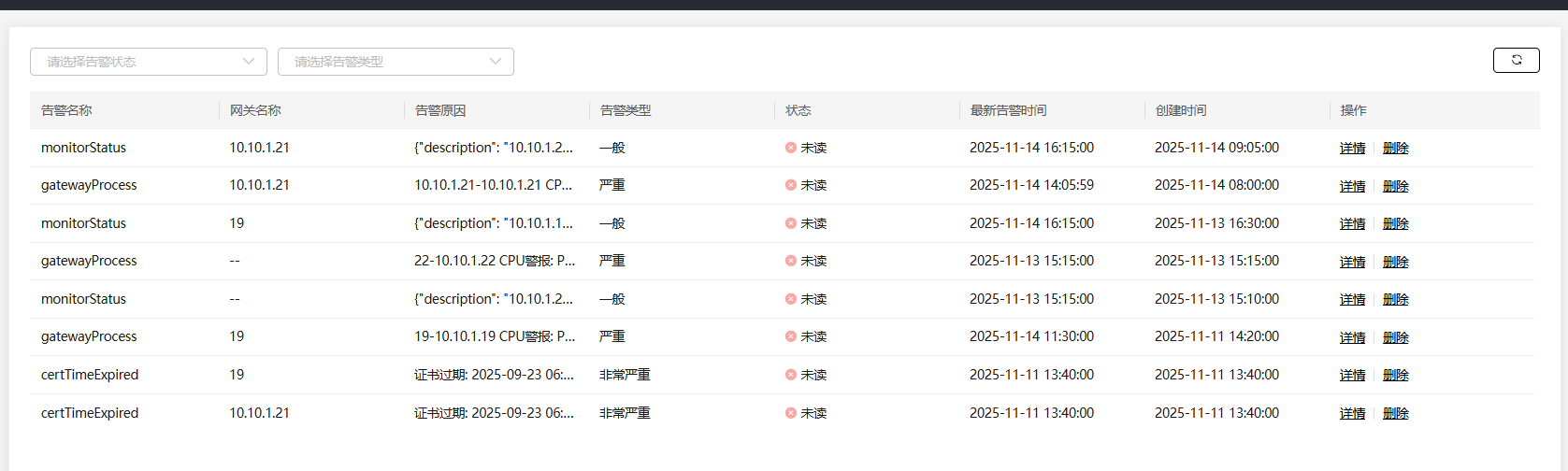
网络告警功能旨在帮助用户及时察觉并处理网络异常状况,保障网络稳定运行。以下是该功能的详细使用说明:
页面以表格形式呈现告警信息,具体字段如下:
告警名称:明确标识告警的类别。其中,“nodeStatus” 代表网关离线产生的告警,“monitorStatus” 则表示网关监控出现问题的告警,“gatewayProcess”代表网关CPU过高产生的告警,“certTimeExpired”代表网关证书过期产生的告警。
网关名称:指出发生告警的网关具体名称,方便用户快速定位问题所在的网络节点。
告警原因:详细说明引发告警的缘由,例如 “HTTPSConnectionPo...” ,为用户排查问题提供关键线索。
告警类型:分为 “一般” 和 “非常严重” ,帮助用户快速判断告警的严重程度,以便合理安排处理优先级。
状态:显示告警当前所处状态,包括 “未读” 和 “已读” 。用户可通过该状态标识了解是否已对告警进行查看处理。
最新告警时间:记录告警最近一次触发的时间,便于用户掌握告警发生的时效性。
创建时间:标明告警首次产生的时间,有助于追溯问题出现的源头。
操作:提供 “详情”“删除”“解决” 等操作选项。点击 “详情” 可查看告警详细信息;“删除” 用于移除该条告警记录;“解决” 可标记告警已处理(仅部分告警适用)。
当网关监控出现问题时,可通过以下命令重新运行机器上的监控:
docker restart irisnode-exporter-1
当网关离线状态,可以尝试以下命令重启网关:
docker restart irisnode-switch-1
当网关证书过期时,同步邮箱会发送提示,组织管理员角色下可以在网关节点页面下点击替换证书,也可以找客服后台操作处理。
为方便用户快速定位特定告警,页面右上角设有筛选框,用户可根据实际需求筛选告警类型(如按严重程度区分)和告警状态(已读 / 未读) ,从而更高效地管理和处理网络告警信息。
