接入用户

用户列表功能模块主要用于管理 VPN 用户相关信息,以下是各项操作的详细使用指引:

添加VPN用户

若需新增 VPN 用户,可进行如下操作:
在用户列表中,点击目标用户右侧的 “更多操作” 选项,在下拉菜单中选择 “添加 VPN 用户”。此时将弹出添加 VPN 用户的表单界面,您需要依次准确填写以下信息

  • 用户名称:为新增 VPN 用户设定唯一的标识名称,用于登录和识别。

  • 网络:指定该用户所接入的网络名称,明确其网络归属。

  • 密码:设置用户登录 VPN 时使用的密码,需遵循一定的密码强度规则,以保障账户安全。

  • 角色:从下拉列表中选择用户的角色类型,不同角色对应不同的权限级别,如普通用户、管理员等,以此限定用户的操作权限范围。

  • 过期时间:通过日期选择器设定用户账户的有效期限,超过该时间后,用户将无法使用该 VPN 账户登录。
    信息填写完毕并确认无误后,点击 “添加” 按钮即可完成新 VPN 用户的添加操作。

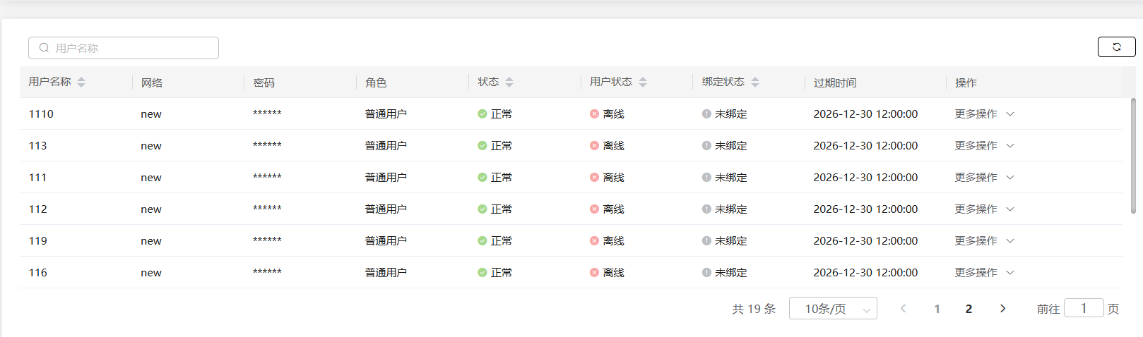
  • 优化 VPN 用户查询展示机制,实现用户列表分页加载与展示。

若组织有普通用户,可以点击用户名称进入vpn用户的展示页面。

  • 支持VPN用户名称搜索和排序。

接入用户1.png

接入用户2.png

修改用户(此功能仅限超级管理员)

点当需要对现有 VPN 用户的相关信息进行调整时:
点击 “修改用户” 选项,在弹出的修改界面中,您可以对以下内容进行修改

  • VPN 个数:根据实际需求调整该用户可使用的 VPN 数量配额。

  • 第三方用户:输入第三方用户 ID ,用于关联或更新第三方用户相关信息。

修改完成后,点击 “修改” 按钮以保存更改。

上网行为

通过本功能,用户可便捷查看 VPN 用户拨入后的上网行为记录,助力网络行为监管与分析。以下为详细使用指引:

功能入口

在用户列表界面中,点击目标用户右侧 “更多操作” 下拉菜单中的 “上网行为” 选项,即可进入上网行为记录查看页面。

记录筛选

在上网行为记录页面上方,提供多种筛选方式,以便精准定位所需记录:

  • 选择用户:您可通过下拉菜单,从平台用户中选择特定的 VPN 用户。系统将筛选并展示该用户的所有上网行为记录,方便针对单个用户进行行为分析。

  • 搜索域:在搜索框中输入特定的域名(如网站地址)。系统会检索与该域名相关的上网行为记录,帮助您快速了解用户对特定网络资源的访问情况。

  • 选择时间:利用日期和时间选择器,设定想要查看的上网行为记录的时间范围。无论是按天、按周还是自定义时段,都能准确筛选出对应时间段内的记录,便于分析不同时段的网络使用趋势。

记录导出

为方便用户进行数据存档、进一步分析或报告制作,在页面左上角设有 “Export” 按钮。点击该按钮,系统将以 Excel 格式导出当前页面所显示的上网行为记录。导出的数据包含平台用户、VPN 用户名称、网络、访问的域、访问次数、加载时间等详细信息,方便用户在本地进行灵活的数据处理与分析。

通过合理运用上述功能,您能够高效管理和分析 VPN 用户的上网行为,提升网络使用的安全性与合规性。


删除用户

如需删除某个用户账户,操作如下:
点击 “删除” 选项,系统将弹出确认删除的提示框,点击 “确定” 按钮,即可删除该用户账户。请谨慎操作,删除后该账户将无法恢复。

7.png

修改VPN用户

若要修改 VPN 用户的密码或过期时间:
点击 “修改” 选项,在弹出的 “修改 VPN 用户” 界面中,您可以对以下内容进行修改:

  • 密码:输入新的密码,以更新用户的登录密码。

  • 过期时间:重新选择或调整用户账户的过期时间。
    修改完成后,点击 “修改” 按钮保存更改。

同步

当出现 VPN 账号修改密码后未同步,或账号未成功同步到网络等情况时:
点击 “同步” 按钮,系统将尝试对相关账号信息进行同步操作,以确保账号信息在不同系统或设备间保持一致。

10.png

终端系统

此功能用于帮助用户深入了解 VPN 用户登录时所使用终端设备的详细信息,以便进行设备管理、故障排查及安全审计等工作。具体使用方式如下:

功能入口

在 VPN 用户列表页面中,找到目标 VPN 用户,点击其右侧操作栏中的 “终端系统” 按钮,即可进入该 VPN 用户的终端信息展示页面。

信息分类查看

终端信息展示页面分为三个主要标签页,分别呈现不同类型的终端信息:

  • 终端系统信息:该标签页展示终端设备的基础系统信息,包括但不限于主机名称、架构(如 x64 )、操作系统(如 Windows )、系统版本(如 Microsoft Windows 11 家庭中文版 10.0.22631 )、CPU 型号(如 AMD Ryzen 5 7530U with Radeon Graphics @ 2Ghz )、CPU 核心数、物理核心数、主频、总内存、空闲内存等内容。通过这些信息,用户可以全面了解终端设备的硬件和系统配置情况。

  • 端口信息:在此标签页中,会列出终端设备上的端口使用情况,具体包括进程 ID、进程(名称)、本地地址、本地端口、对端地址、对端端口以及端口状态(如 LISTEN 等)。这些信息对于排查网络连接问题、检测潜在的网络安全风险(如异常端口开放情况)具有重要参考价值。

  • 进程信息:该标签页展示终端设备上正在运行的进程相关信息,涵盖用户、进程 ID、进程名称、进程命令、占用率(CPU 占用率)、内存占用率等字段。通过查看进程信息,用户可以了解终端设备的资源使用情况,判断是否存在异常进程或资源占用过高的情况,有助于保障终端设备及网络的稳定运行。

通过合理运用上述功能,用户能够全面掌握 VPN 用户终端设备的状态和运行情况,提升网络管理的精细化程度和安全性。

 删除VPN用户

点击 “删除” 并在确认提示框中点击 “确定”,即可删除指定的 VPN 用户,删除操作不可逆,请谨慎执行。

登录流水

点击vpn用户登录流水,可以看到登录折线图和表格切换展示。可以调整显示日期,并进行删除操作,操作后折线图和表格同步变化。

默认显示一周数据,组织默认支持查询近30日的日志数据;

如需获取更长期的日志数据,可通过平台商城选购日志存储套餐,最高支持查询近180日的历史日志数据。

登录流水1.png

优化 VPN 用户查询展示机制,实现用户列表分页加载与展示。

若组织有普通用户,可以点击用户名称进入vpn用户的展示页面。

新增

更新vpn用户密码按钮。

该功能可与 “下线” 功能联动:修改指定 VPN 用户密码后,系统会强制其下线。用户在未重新登录的情况下,将无法重新接入 VPN

微信图片_20260317111130.png